万科与万达,即将对簿公堂。
上海市高级人民法院网站显示,海南万骏管理服务有限公司(以下简称“海南万骏”)因合同纠纷起诉万达地产集团有限公司、王健林、大连万达集团股份有限公司。案件将于11月3日开庭审理。

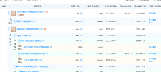
天眼查显示,海南万骏成立于2020年,注册资本2000万元,法定代表人何智超。穿透股权显示,海南万骏由万科旗下深圳市盈达投资基金管理有限公司、珠海横琴万骏投资集团有限公司共同持股,持股比例分别为70%、30%。

据媒体综合报道,双方纠纷原因要追溯至2019年。当年万达与长春市签订战略合作协议,拟打造“长春国际影都”项目。随后,万达引入万科共同开发,其中万达负责文旅板块,万科负责住宅板块。
2020年,海南万骏通过增资方式进入长春北方影都投资有限公司,持股15%。双方达成合作后,海南万骏先后分两次向万达地产支付了合作款共50亿元。
这场合作在2021年出现了转折。万科决定提前退出。据媒体报道,万达已返还万科52.4亿元,但双方在投资款善后问题上产生了分歧。
2023年6月,矛盾进一步升级。万科申请冻结大连万达集团持有的大连万达商业管理集团股份有限公司约19.79亿元股权,冻结期限三年。当时正值珠海万达商管冲刺上市的关键阶段,此举引发市场广泛关注。万达方面曾回应称,冻结股权金额远超实际纠纷数额。
围绕争议金额,双方各执一词。据了解,万科方面主张万达应再支付13.8亿元,包括10亿元本金及相应利息、罚息。而万达方面则认为,已支付2.4亿元收益,且万科在土地成本上实际享受了约16.3亿元优惠,不认同再支付13.8亿元。

当前,房地产行业整体承压,在此背景下,双方对资金需求更为迫切,原本看似平息的矛盾再次浮出水面。
有行业观察人士指出,从合作开发到对簿公堂,反映的不仅是企业合作的履约风险,更是当下房企对现金流极度敏感的缩影。
天眼查最新数据显示,今年以来,大连万达集团新增多起风险记录,包括数条股权冻结及被执行人信息。王健林也曾被限制高消费。